当前位置:
首页
>
政务公开
>
资金信息
>
财政预决算
>
转移支付
>
社保股
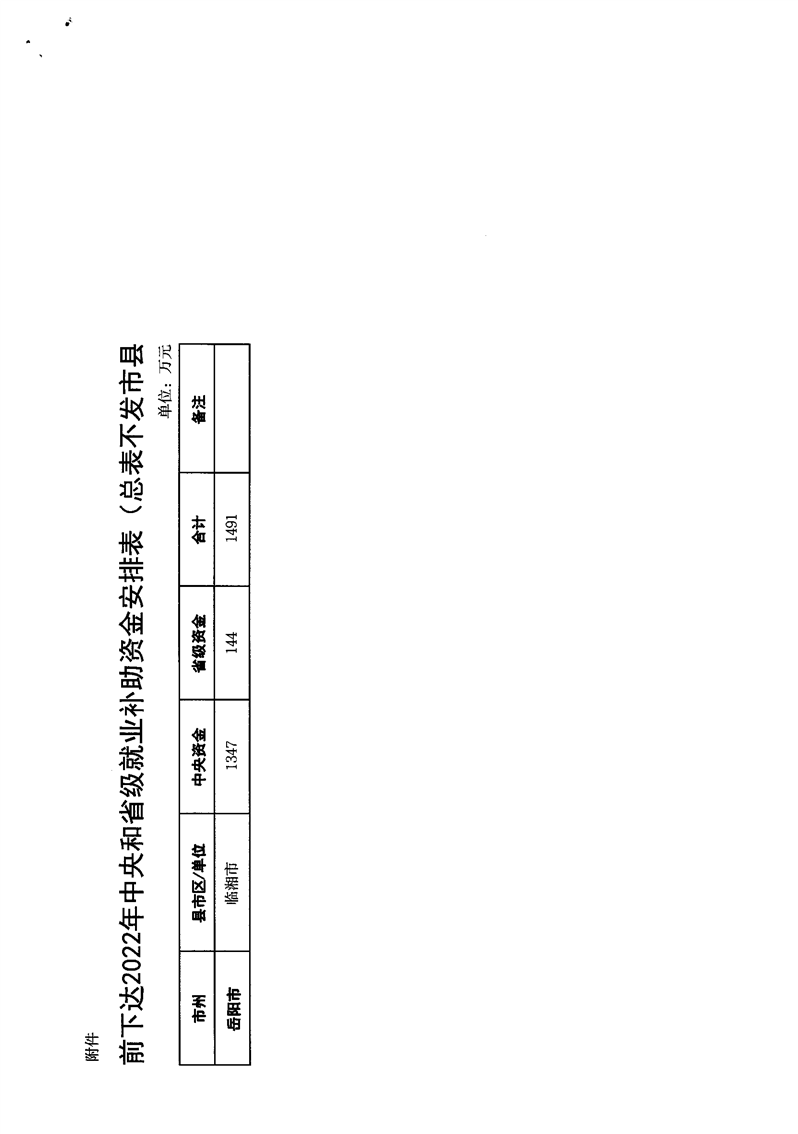
关于提前下达2022年中央和省级就业补助资金的通知
来源:临湘市财政局
日期: 2021-12-28 20:18
浏览量:
1
|
|
|
|