当前位置:
首页
>
政务公开
>
资金信息
>
财政预决算
>
转移支付
>
社保股
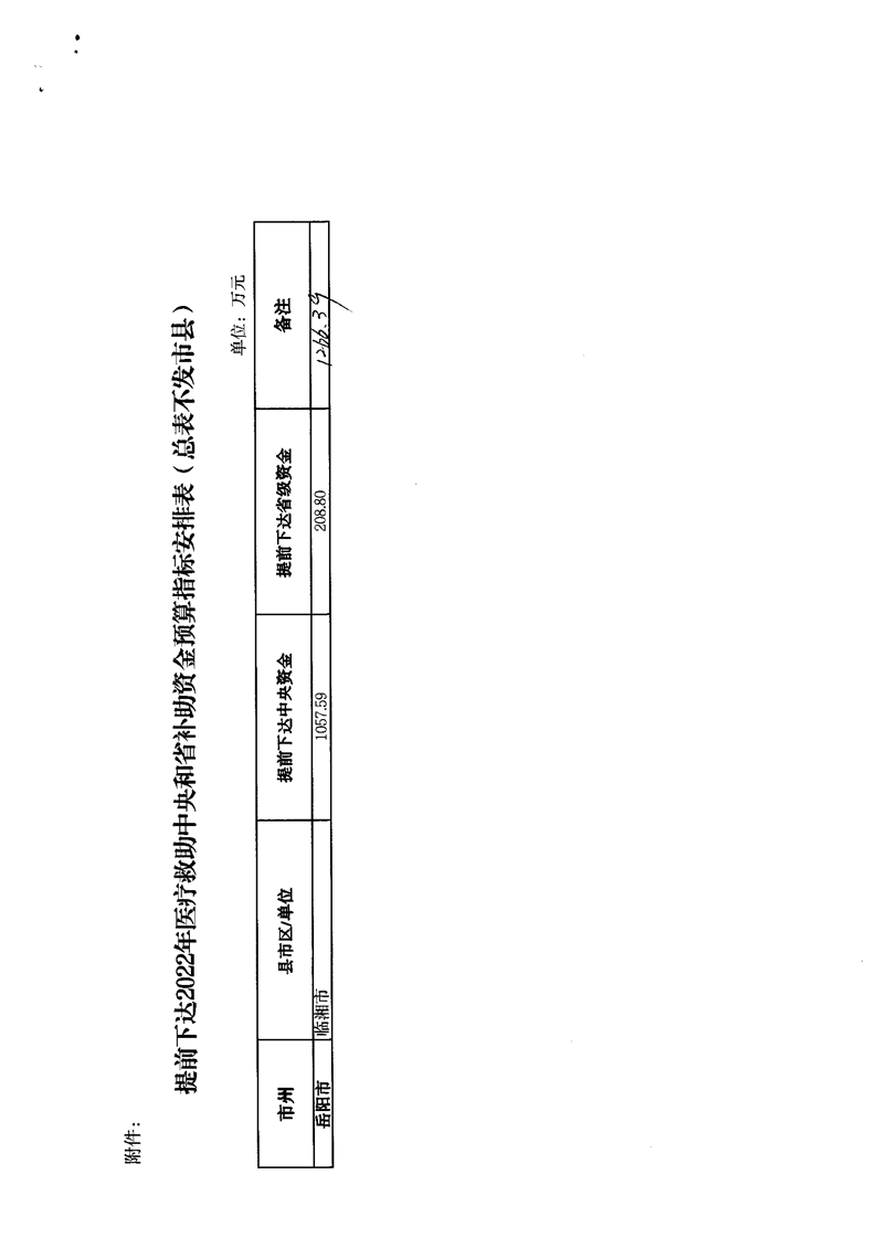
关于提前下达2022年医疗救助中央和省补助资金预算指标的通知
来源:临湘市财政局
日期: 2022-01-03 20:45
浏览量:
1
|
|
|
|