当前位置:
首页
>
政务公开
>
资金信息
>
财政预决算
>
转移支付
>
社保股
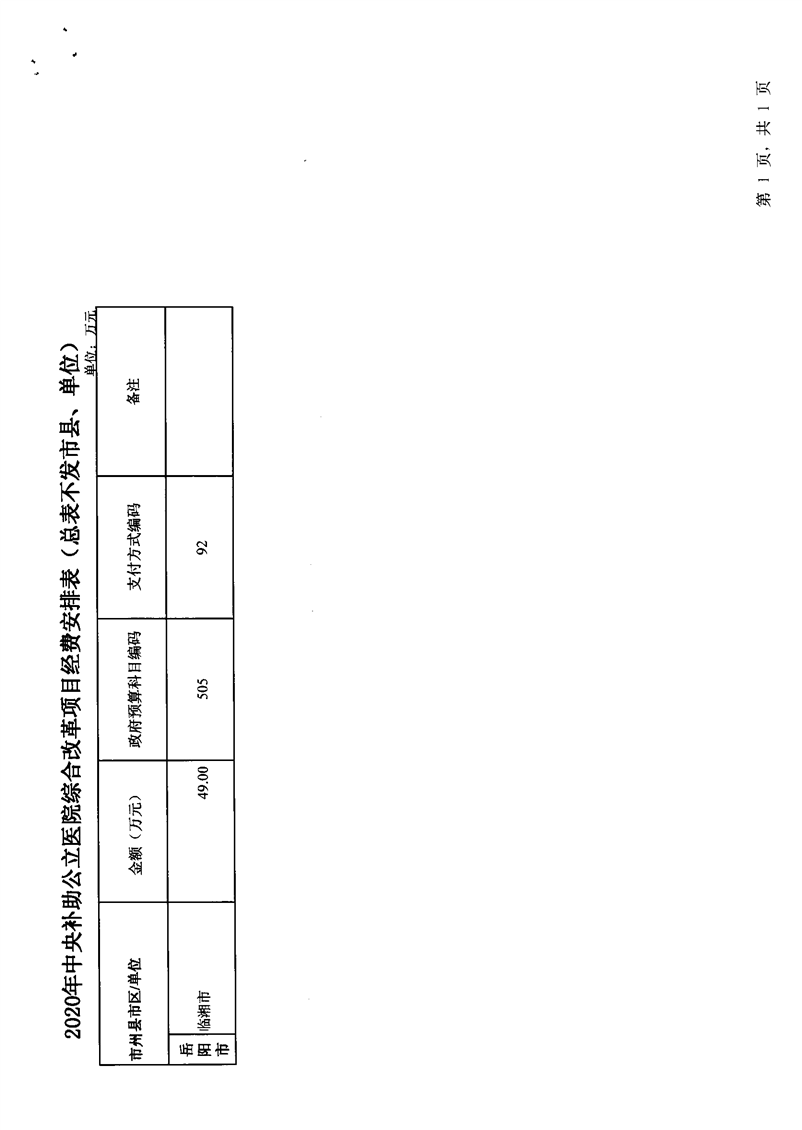
湖南省财政厅关于下达2020年中央补助公立医院综合改革项目资金的通知
来源:财政局
日期: 2020-07-13 17:52
浏览量:
1
|
|
|
|
临财预指【2020】136号.docx