当前位置:
首页
>
政务公开
>
资金信息
>
财政预决算
>
转移支付
>
社保股
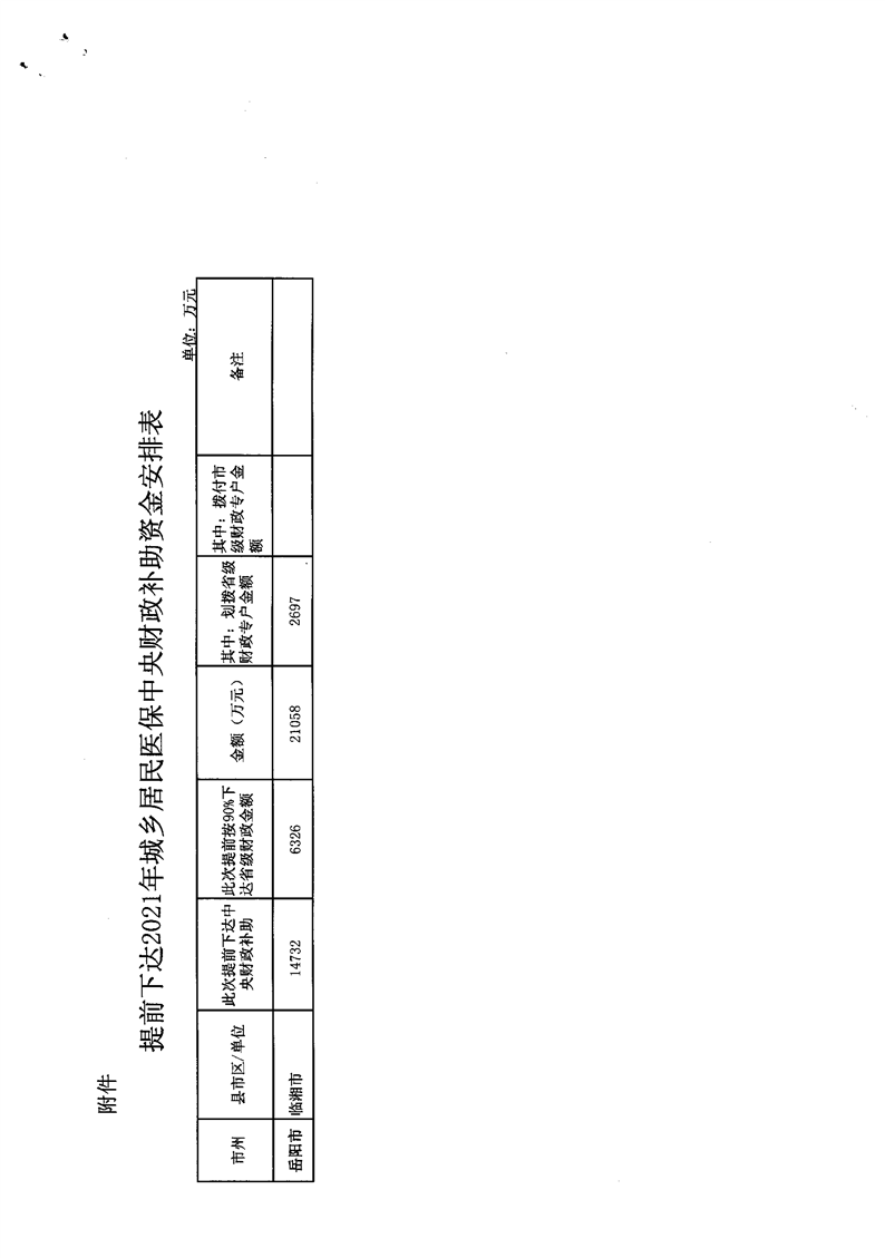
湖南省财政厅关于提前下达2021年城乡居民基本医疗保险中央和省级财政补助资金预算指标的通知
来源:政府办
日期: 2021-01-13 16:40
浏览量:
1
|
|
|
|
临财预指【2021】39号.docx